





Артикул:
a2a - 1474225 12-SCH
Есть в наличии
12.53 ₽
Минимальное количество заказа этого товара 500
Доставка послезавтра и позже, от 5000 ₽
Обратите внимание. Наша компания работает со странами СНГ только через представительство в РФ.
Обратите внимание. Наша компания работает со странами СНГ только через представительство в РФ.
В упаковке
500 штВес единицы товара, кг
0,00047Basic
В упаковке
500 шт
Вес единицы товара, кг
0,00047
Вес упаковки, кг
0.0001
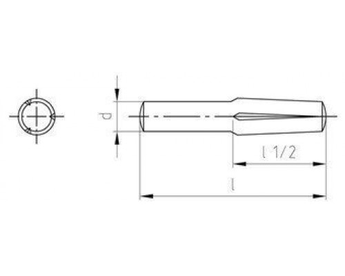
Диаметр, мм
2.5
Длина, мм
12
Дополнительные параметры
Длина насечек 50% от общей длины;
Внутренний угол насечки: 70°;
Угол между осями насечек: 120°
Материал
нерж. сталь A1
Нагрузки
Разрыв: 500 Н/мм2
Отзывов: 0
Нет отзывов об этом товаре.
Вопросов: 0
Нет вопросов об этом товаре.
Похожие товары
Вы недавно смотрели