- АртикулFISH-542725
- НаличиеВ наличии
Обратите внимание. Наша компания работает со странами СНГ только через представительство в РФ.
|
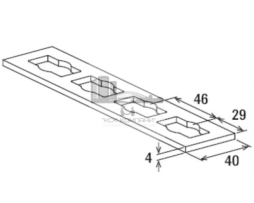
Материал: Сталь DD11 (материал No 1.0332) в соответствии с DIN EN 10111 (Горячеоцинкованная сталь) |
|
Применение: Сборка эстакад и коллекторов, служащих для прокладки труб либо воздуховодов инженерных систем зданий, требует увеличения длины шин монтажной системы FUS. Для таких операций удобно пользоваться прямой соединительной пластиной PFFF 4I FVZ бренда fischer. Это изделие необходимо монтировать попарно, что способствует росту надежности и прочности соединительного узла, а также повышению скорости выполнения работ и их максимальному упрощению. |
|
Описание и особенности: Материал пластины–горячеоцинкованная сталь, толщина которой составляет 4 мм. Указанный параметр детали повышает жесткость и несущую способность места соединения двух профилей. Пластина имеет прямоугольную форму длиной 196 мм при ширине детали, равной 40 мм. Вдоль продольной оси изделия равномерно расположены четыре фигурных паза, в которых размещают болты в сочетании с монтажными гайками типа PFCN. Эти вырезы позволяют откорректировать местоположение пластины даже после завершения операции по ее установке. |
|
Производитель: fischer (Германия) |
Нет отзывов об этом товаре.
