- Артикул0017121-OPTI
- НаличиеВ наличии
- DINDIN 94
- Диаметр8
- Все характеристики
Обратите внимание. Наша компания работает со странами СНГ только через представительство в РФ.
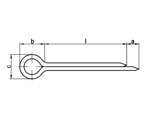
Для предотвращения смещения деталей используется шплинт разводной DIN 94. Крепежный элемент монтируется в заранее подготовленное гнездо, препятствуя самопроизвольному раскручиванию. Шплинт прямой DIN 94 прост в монтаже и демонтаже, предназначен для применения в ненапряженных узлах.
Описание
Шплинт разводной DIN 94 производится из высококачественного материала, что обеспечивает механическую прочность, стойкость к колебаниям температур. Крепежный элемент не предназначен для многоразового применения. Для фиксации метиза требуется отогнуть концы в противоположные стороны после помещения в основание.
Преимущества
- Высокий эксплуатационный ресурс.
- Антикоррозионная стойкость.
- Большой выбор размеров.
- Скорость и простота монтажа.
- Стойкость к продолжительным вибрациям.
Применение
Шплинт DIN 94 разводной широко востребован в машиностроении, приборостроении, станкостроении и других промышленных отраслях. Крепежный элемент может использоваться для стопорения гайки, оси болта.
Как купить
Чтобы купить шплинт разводной прямой DIN 94 или получить бесплатную консультацию, свяжитесь с нашим менеджером, вся контактная информация указана на сайте.
Basic
- DINDIN 94
- Диаметр8
- Длина71
- МатериалНержавеющая сталь A2
- Размер8x71 мм
- СтандартDIN 94
Нет отзывов об этом товаре.
