



Обратите внимание. Наша компания работает со странами СНГ только через представительство в РФ.
Материал: Сталь DD11 (№ материала 1.0332) в соотв. согласно DIN EN 10111 (Горячеоцинкованная сталь) |
Применение: Для получения надежных и прочных крестообразных соединений двух монтажных профилей шириной 41 мм используют соединительные фланцы PFUF 41 FVZ бренда fischer. Такое изделие применяется для сборки консолей, траверс, а также эстакад, рам и коллекторов. При помощи этих несущих конструкций ведется прокладка инженерных сетей внутри или снаружи жилых домов и зданий. К рассматриваемым коммуникациям относят крупногабаритные трубопроводы, вентиляционные каналы, кабельные трассы. Фланец фиксируют к шинам, используя болты в комбинации с канальными гайками PFCN. |
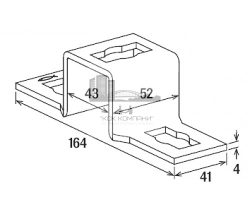
Описание и особенности: Фланец изготовлен из оцинкованной стали, толщина материала равна 4 мм. Такая величина способствует росту конструктивной жесткости изделия, выдерживающего высокие нагрузки. Фланец это стальная полоса, согнутая как буква “П”, и дополненная в нижней части горизонтальными опорными лапами. Ширина фланца – переменная, увеличивающаяся с 41 мм для опорных лап до 52 в средней части. Длина изделия составляет 164 мм. В обоих опорных элементах фланца и в его средней прижимной части выполнены фигурные пазы. Всего имеется три таких выреза, предназначенных для канальных гаек типа PFCN. |
Производитель: fischer (Германия) |
Нет отзывов об этом товаре.
Нет вопросов об этом товаре.